中文版 | 繁體版
海宁市嘉华陶塑轴承厂
地 址:海宁市海昌街道星光村转水汇16号
电 话:0086-573-87025462
手 机:0086-15957381801
传 真:0086-573-87027495
邮 箱:jhzcbearing@163.com
您的位置:首页 >> 轴承尺寸 >> 正文    轴承尺寸
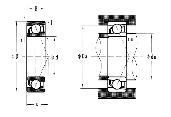
角接触轴承尺寸表
发布时间:2010-12-28 15:52:56  点击:5306次

,

角接触轴承尺寸表

 
外形尺寸(mm)
 
有关安装尺寸(mm)
重量(kg)
轴承型号
 
 
 
R
R1
da
Da
ra
参考
 
d
D
B
(最小)
r1(最小)
最小
最大
最大
ZrO2
P7900
10
22
6
0.3
0.15
12.5
19.5
0.3
0.001
P7000
26
8
0.3
0.15
12.5
23.5
0.3
0.003
P7200
30
9
0.6
0.3
15
25
0.6
0.004
P7300
35
11
0.6
0.3
15
30
0.6
0.007
P7901
12
24
6
0.3
0.15
14.5
21.5
0.3
0.001
P7001
28
8
0.3
0.15
14.5
25.5
0.3
0.003
P7201
32
10
0.6
0.3
17
27
0.6
0.005
P7301
37
12
1
0.6
18
31
1
0.008
P7902
15
28
7
0.3
0.15
17.5
25.5
0.3
0.002
P7002
32
9
0.3
0.15
17.5
29.5
0.3
0.004
P7202
35
11
0.6
0.3
20
30
0.3
0.006
P7302
42
13
1
0.6
21
36
1
0.011
P7903
17
30
7
0.3
0.15
19.5
27.5
0.3
0.002
P7003
35
10
0.3
0.15
19.5
32.5
0.3
0.006
P7203
40
12
0.6
0.3
22
35
0.6
0.009
P7303
47
14
1
0.6
23
41
1
0.016
P7904
20
37
9
0.3
0.15
22.5
34.5
0.3
0.005
P7004
42
12
0.6
0.3
25
37
0.6
0.009
P7204
47
14
1
0.6
26
41
1
0.015
P7304
52
15
1.1
0.6
27
45
1
0.020
P7905
25
42
9
0.3
0.15
27.5
39.5
0.3
0.006
P7005
47
12
0.6
0.3
30
42
0.6
0.011
P7205
52
15
1
0.6
31
46
1
0.018
P7305
62
17
1.1
0.6
32
55
1
0.032
P7906
30
47
9
0.3
0.15
32.5
44.5
1
0.007
P7006
55
13
1
0.6
36
49
1
0.016
P7206
62
16
1
0.6
36
56
1
0.027
P7306
72
19
1.1
0.6
37
65
1
0.048
P7907
35
55
10
0.6
0.3
40
50
0.6
0.010
P7007
62
14
1
0.6
41
56
1
0.022
P7207
72
17
1.1
0.6
42
65
1
0.039
P7307
80
21
1.5
1
44
71
1.5
0.065
P7908
40
62
12
0.6
0.3
45
57
0.6
0.016
P7008
68
15
1
0.6
46
62
1
0.027
P7208
80
18
1.1
0.6
47
73
1
0.050
P7308
90
23
1.5
1
49
81
1.5
0.088
P7909
45
68
12
0.6
0.3
50
63
0.6
0.017
P7009
75
16
1
0.6
51
69
1
0.034
P7209
85
19
1.1
0.6
52
78
1
0.057
P7309
100
25
1.5
1
54
91
1.5
0.115
P7910
50
72
12
0.6
0.3
55
67
0.6
0.018
P7010
80
16
1
0.6
56
74
1
0.036
P7210
90
20
1.1
0.6
57
83
1
0.063
P7310
110
27
2
1
60
100
2
0.147
P7911
55
80
13
1
0.6
61
74
1
0.027
P7011
90
18
1.1
0.6
62
83
1
0.052
P7211
100
21
1.5
1
64
91
1.5
0.086
P7311
120
29
2
1
65
110
2
0.188
P7912
60
85
13
1
0.6
66
79
1
0.027
P7012
95
18
1.1
0.6
67
88
1
0.057
P7212
110
22
1.5
1
69
101
1.5
0.108
P7312
130
31
2.1
1.1
72
118
2
0.237
P7913
65
90
13
1
0.6
71
84
1
0.031
P7013
100
18
1.1
0.6
72
93
1
0.061
P7213
120
23
1.5
1
74
111
1.5
0.138
P7313
140
33
2.1
1.1
77
128
2
0.291
P7914
70
100
16
1
0.6
76
94
1
0.048
P7014
110
20
1.1
0.6
77
103
1
0.084
P7214
125
24
1.5
1
79
116
1.5
0.151
P7314
150
35
2.1
1.1
82
138
2
0.355
P7915
75
105
16
1
0.6
81
99
1
0.050
P7015
115
20
1.1
0.6
82
108
1
0.090
P7215
130
25
1.5
1
84
121
1.5
0.165
P7916
80
110
16
1
0.6
86
104
1
0.054
P7016
125
22
1.1
0.6
87
118
1
0.120
P7216
140
26
2
1
90
130
2
0.196
P7017
85
130
22
1.1
0.6
92
123
1
0.127
P7217
150
28
2
1
95
140
2
0.242
P7918
90
125
18
1.1
0.6
97
118
1
0.081
P7018
140
24
1.5
1
99
131
1.5
0.165
P7919
95
130
18
1.1
0.6
102
123
1
0.083
P7019
145
24
1.5
1
104
136
1.5
0.171
P7920
100
140
20
1.1
0.6
107
133
1
0.115
P7020
150
24
1.5
1
109
141
1.5
0.178
P7921
105
145
20
1.1
0.6
112
138
1
0.118
P7922
110
150
20
1.1
0.6
117
143
1
0.124
海宁市嘉华陶塑轴承厂 版权所有 技术支持:网旗网络 CopyRight © 2011 All Right Reseved.
地址:海宁市海昌街道星光村转水汇组16号   电话:0573-87025462   传真:0573-87027495
邮箱:jhzcbearing@163.com   备案编号:浙ICP备11040388号   网站管理